首页
专利数据库
产业人才
行业动态
产业政策法规
维权援助
个人中心
登录/注册
详情
文本
图像
标题:
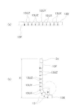
内視鏡のアングル部
授权日:
1900-01-01
公开(公告)号:
JP2005334050A
申请日:
2004-05-24
公开(公告)日:
2005-12-08
当前申请(专利权)人:
フジノン株式会社
发明人:
町屋 守 | 秋庭 治男
简单同族:
CN100376200C | CN1701753A | EP1600102A1 | EP1600102B1 | JP2005334050A | US20050261548A1 | US7326176
简单同族成员数量:
7
简单同族被引用专利总数:
36
诉讼案件数:
0
法律状态/事件:
驳回 | 权利转移