首页
专利数据库
产业人才
行业动态
产业政策法规
维权援助
个人中心
登录/注册
详情
文本
图像
标题:
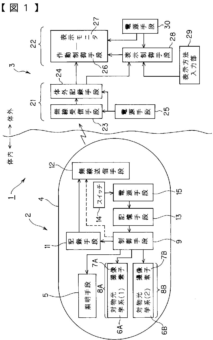
カプセル型医療システム
授权日:
2007-09-07
公开(公告)号:
JP4009581B2
申请日:
2003-11-18
公开(公告)日:
2007-11-14
当前申请(专利权)人:
オリンパス株式会社
发明人:
横井 武司
简单同族:
CN100435712C | CN1882275A | EP1685788A1 | EP1685788A4 | JP2005143991A | JP4009581B2 | US20060209185A1 | US8089508 | WO2005048825A1
简单同族成员数量:
9
简单同族被引用专利总数:
125
诉讼案件数:
0
法律状态/事件:
未缴年费 | 权利转移