首页
专利数据库
产业人才
行业动态
产业政策法规
维权援助
个人中心
登录/注册
详情
文本
图像
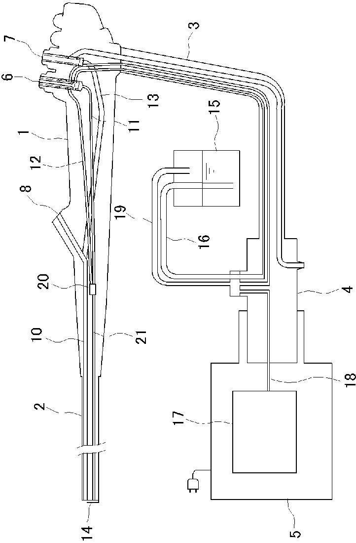
标题:
内視鏡の流路合流構造
授权日:
2012-06-08
公开(公告)号:
JP5009541B2
申请日:
2006-03-06
公开(公告)日:
2012-08-22
当前申请(专利权)人:
富士フイルム株式会社
发明人:
鳥居 雄一
简单同族:
CN100571609C | CN101032392A | EP1832226A1 | EP1832226B1 | JP2007236425A | JP5009541B2 | KR1020070091580A | TW200733929A | TWI335810B | US20070204890A1 | US7833155
简单同族成员数量:
11
简单同族被引用专利总数:
48
诉讼案件数:
0
法律状态/事件:
未缴年费 | 权利转移