首页
专利数据库
产业人才
行业动态
产业政策法规
维权援助
个人中心
登录/注册
详情
文本
图像
标题:
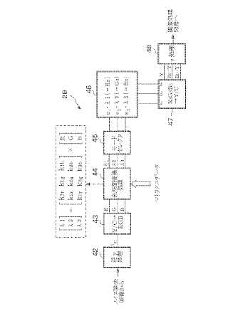
内視鏡装置
授权日:
1900-01-01
公开(公告)号:
JP2006239203A
申请日:
2005-03-04
公开(公告)日:
2006-09-14
当前申请(专利权)人:
富士フイルム株式会社
发明人:
阿部 一則 | 竹内 信次 | 綾目 大輔
简单同族:
EP1698271A1 | EP1698271B1 | JP2006239203A | JP4647346B2 | US20060198551A1 | US7944466
简单同族成员数量:
6
简单同族被引用专利总数:
52
诉讼案件数:
0
法律状态/事件:
未缴年费 | 权利转移