首页
专利数据库
产业人才
行业动态
产业政策法规
维权援助
个人中心
登录/注册
详情
文本
图像
标题:
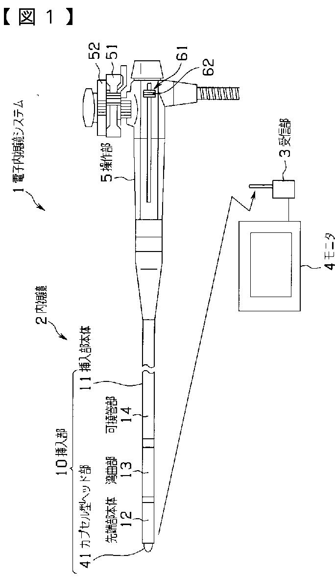
内視鏡
授权日:
2009-10-30
公开(公告)号:
JP4398184B2
申请日:
2003-06-24
公开(公告)日:
2010-01-13
当前申请(专利权)人:
オリンパス株式会社
发明人:
三宅 清士 | 小畑 光男 | 宮▲崎▼ 敦之
简单同族:
JP2005013359A | JP4398184B2 | US20040267095A1 | US7322934
简单同族成员数量:
4
简单同族被引用专利总数:
315
诉讼案件数:
0
法律状态/事件:
未缴年费 | 权利转移