首页
专利数据库
产业人才
行业动态
产业政策法规
维权援助
个人中心
登录/注册
详情
文本
图像
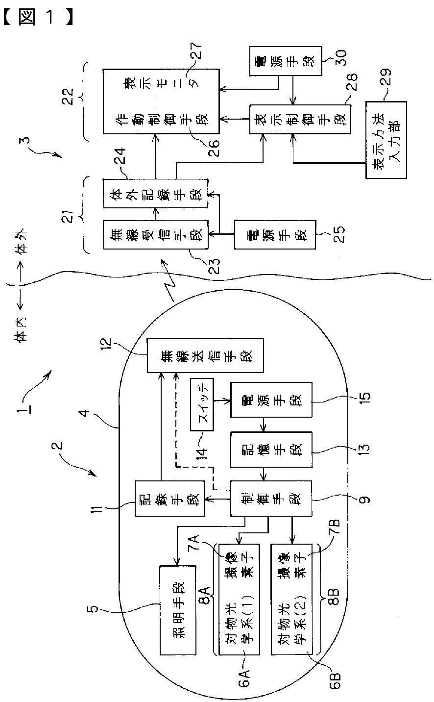
标题:
カプセル型医療システム
授权日:
2010-05-28
公开(公告)号:
JP4520491B2
申请日:
2007-07-09
公开(公告)日:
2010-08-04
当前申请(专利权)人:
オリンパス株式会社
发明人:
横井 武司
简单同族:
JP2007313340A | JP4520491B2
简单同族成员数量:
2
简单同族被引用专利总数:
86
诉讼案件数:
0
法律状态/事件:
授权 | 权利转移