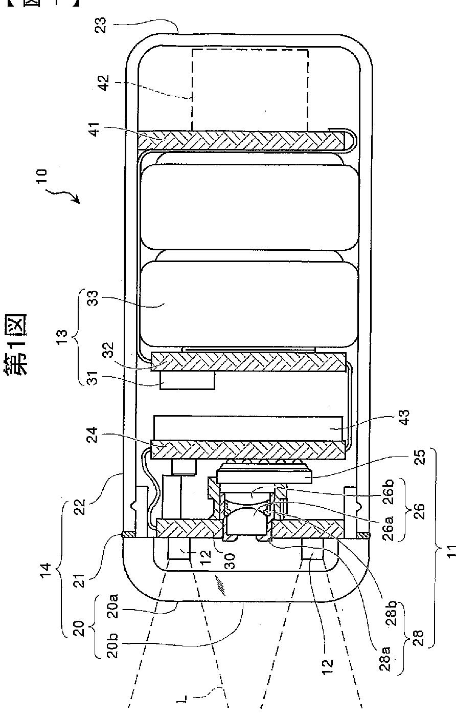
标题:
カプセル内視鏡およびカプセル内視鏡システム
授权日:
2009-12-11
公开(公告)号:
JP4422679B2
申请日:
2004-04-21
公开(公告)日:
2010-02-24
当前申请(专利权)人:
オリンパス株式会社
发明人:
木許 誠一郎 | 藤森 紀幸 | 鈴島 浩 | 重盛 敏明 | 中村 力 | 永瀬 綾子 | 薬袋 哲夫 | 清水 初男 | 本多 武道 | 笹川 克義 | 鈴木 克哉 | 橋本 雅行 | 折原 達也 | 中土 一孝
简单同族:
AU2004233668A1 | AU2004233668B2 | CA2523306A1 | CA2523306C | CN100435716C | CN1777392A | EP1618834A1 | EP1618834A4 | JP4422679B2 | JPWO2004096028A1 | KR1020060013517A | US20040225190A1 | WO2004096028A1
简单同族成员数量:
13
简单同族被引用专利总数:
59
诉讼案件数:
0
法律状态/事件:
未缴年费 | 权利转移