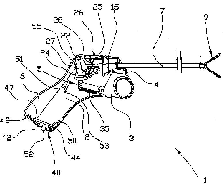
标题:
特に腹腔鏡の外科手術で使用される器具
授权日:
1900-01-01
公开(公告)号:
JP2008525145A
申请日:
2005-12-23
公开(公告)日:
2008-07-17
当前申请(专利权)人:
サージテック ノルウェー エーエス
发明人:
ペーダーセン、タージ エス | ヘザリ、レザ
简单同族:
AU2005322693A1 | AU2005322693B2 | CA2591210A1 | CN100563585C | CN101090672A | EP1833389A1 | JP2008525145A | JP4825221B2 | KR1020070109992A | NO20045706A | NO20045706D0 | NO20045706L | NO322695B1 | RU2007126952A | RU2397726C2 | US20090131974A1 | WO2006071120A1
简单同族成员数量:
17
简单同族被引用专利总数:
56
诉讼案件数:
0
法律状态/事件:
未缴年费