首页
专利数据库
产业人才
行业动态
产业政策法规
维权援助
个人中心
登录/注册
详情
文本
图像
标题:
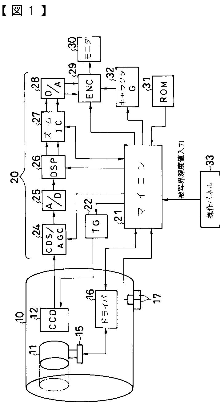
変倍機能を有する電子内視鏡装置
授权日:
2010-12-10
公开(公告)号:
JP4643044B2
申请日:
2001-03-16
公开(公告)日:
2011-03-02
当前申请(专利权)人:
富士フイルム株式会社
发明人:
南 逸司
简单同族:
JP2002277756A | JP4643044B2 | US20020133059A1 | US6685631
简单同族成员数量:
4
简单同族被引用专利总数:
65
诉讼案件数:
0
法律状态/事件:
未缴年费 | 权利转移