首页
专利数据库
产业人才
行业动态
产业政策法规
维权援助
个人中心
登录/注册
详情
文本
图像
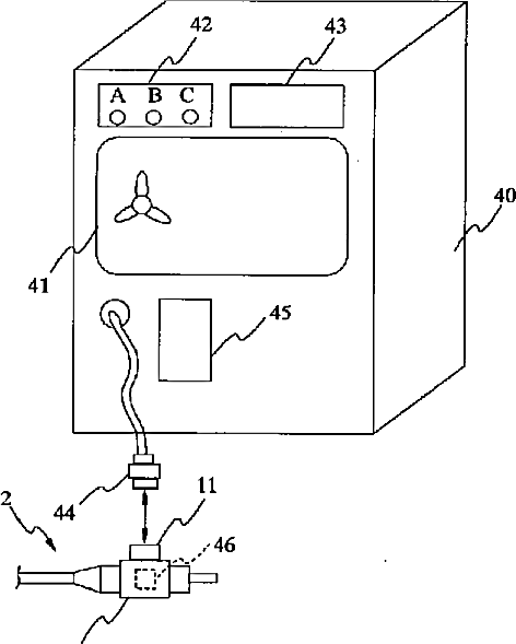
标题:
オートクレーブ装置
授权日:
1900-01-01
公开(公告)号:
JP2002263172A
申请日:
2001-03-07
公开(公告)日:
2002-09-17
当前申请(专利权)人:
オリンパス株式会社
发明人:
森山 宏樹
简单同族:
CN100369635C | CN1668340A | EP1550465A1 | EP1550465A4 | EP1550465B1 | JP2002263172A | JP3691764B2 | US20050148819A1 | WO2004022109A1
简单同族成员数量:
9
简单同族被引用专利总数:
116
诉讼案件数:
0
法律状态/事件:
未缴年费 | 权利转移