首页
专利数据库
产业人才
行业动态
产业政策法规
维权援助
个人中心
登录/注册
详情
文本
图像
标题:
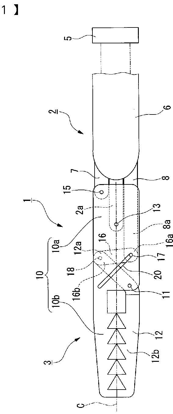
内視鏡用鉗子
授权日:
2009-07-31
公开(公告)号:
JP4350420B2
申请日:
2003-05-29
公开(公告)日:
2009-10-21
当前申请(专利权)人:
オリンパス株式会社
发明人:
鈴木 啓太
简单同族:
DE602004017250D1 | EP1481643A1 | EP1481643B1 | JP2004350939A | JP4350420B2 | US20050033358A1 | US7316703
简单同族成员数量:
7
简单同族被引用专利总数:
38
诉讼案件数:
0
法律状态/事件:
授权 | 权利转移