首页
专利数据库
产业人才
行业动态
产业政策法规
维权援助
个人中心
登录/注册
详情
文本
图像
标题:
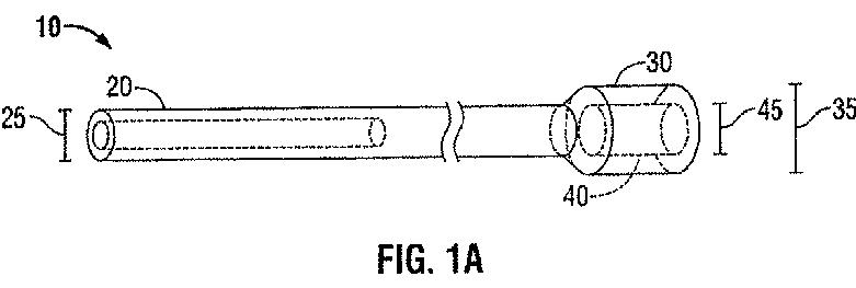
ループ縫合糸
授权日:
1900-01-01
公开(公告)号:
JP2009279393A
申请日:
2009-04-09
公开(公告)日:
2009-12-03
当前申请(专利权)人:
タイコ ヘルスケア グループ リミテッド パートナーシップ
发明人:
マシュー ディー.コーエン
简单同族:
AU2009201278A1 | CA2661709A1 | EP2108316A1 | EP2380500A1 | JP2009279393A | US20090259251A1
简单同族成员数量:
6
简单同族被引用专利总数:
116
诉讼案件数:
0
法律状态/事件:
驳回