首页
专利数据库
产业人才
行业动态
产业政策法规
维权援助
个人中心
登录/注册
详情
文本
图像
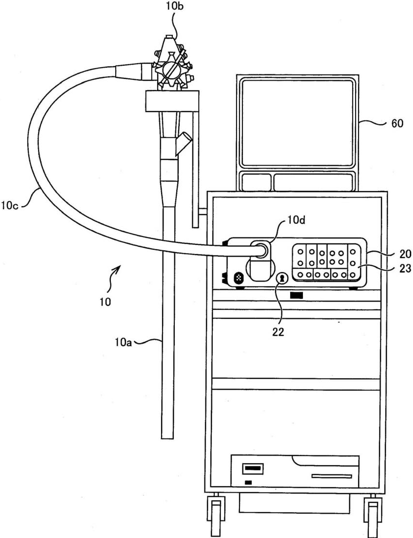
标题:
電子内視鏡システム
授权日:
2011-04-15
公开(公告)号:
JP4723281B2
申请日:
2005-05-16
公开(公告)日:
2011-07-13
当前申请(专利权)人:
HOYA株式会社
发明人:
池谷 浩平 | 福山 三文
简单同族:
DE102006022847A1 | JP2006314680A | JP4723281B2 | US20060256191A1 | US7766818
简单同族成员数量:
5
简单同族被引用专利总数:
86
诉讼案件数:
0
法律状态/事件:
授权 | 权利转移