首页
专利数据库
产业人才
行业动态
产业政策法规
维权援助
个人中心
登录/注册
详情
文本
图像
标题:
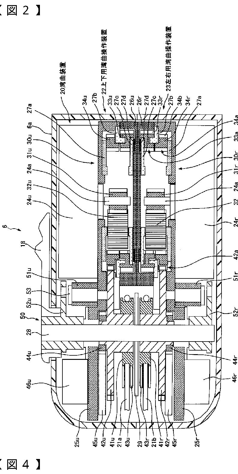
内視鏡
授权日:
2008-03-28
公开(公告)号:
JP4102320B2
申请日:
2004-03-10
公开(公告)日:
2008-06-18
当前申请(专利权)人:
オリンパス株式会社
发明人:
上野 晴彦 | 正木 豊 | 斎藤 尚一
简单同族:
CN100496376C | CN1929774A | EP1738678A1 | EP1738678A4 | EP1738678B1 | JP2005253614A | JP4102320B2 | US20070004967A1 | WO2005087081A1
简单同族成员数量:
9
简单同族被引用专利总数:
36
诉讼案件数:
0
法律状态/事件:
授权 | 权利转移