首页
专利数据库
产业人才
行业动态
产业政策法规
维权援助
个人中心
登录/注册
详情
文本
图像
标题:
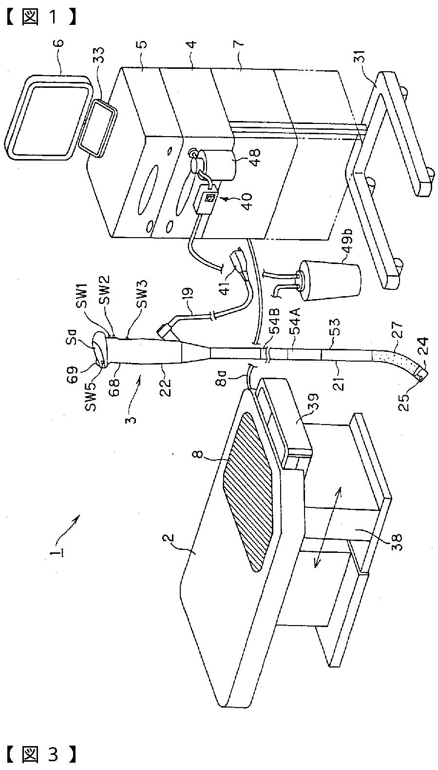
内視鏡
授权日:
2011-02-10
公开(公告)号:
JP4679241B2
申请日:
2005-05-24
公开(公告)日:
2011-04-27
当前申请(专利权)人:
オリンパスメディカルシステムズ株式会社
发明人:
内村 澄洋
简单同族:
CN100584265C | CN101179980A | EP1884185A1 | EP1884185A4 | JP2006325745A | JP4679241B2 | KR100949624B1 | KR1020070118104A | US20090048488A1 | US8517926 | WO2006126550A1
简单同族成员数量:
11
简单同族被引用专利总数:
33
诉讼案件数:
0
法律状态/事件:
授权 | 权利转移