首页
专利数据库
产业人才
行业动态
产业政策法规
维权援助
个人中心
登录/注册
详情
文本
图像
标题:
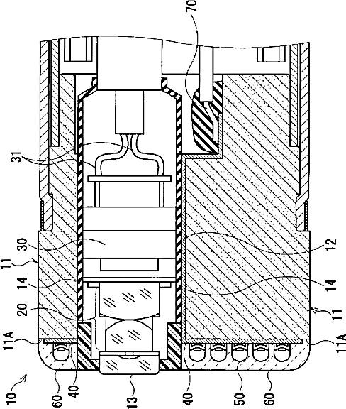
内視鏡
授权日:
1900-01-01
公开(公告)号:
JP2002051971A
申请日:
2000-08-14
公开(公告)日:
2002-02-19
当前申请(专利权)人:
HOYA株式会社
发明人:
杉山 章 | 田中 千成 | 池谷 浩平 | 佐野 浩
简单同族:
JP2002051971A | JP4598164B2
简单同族成员数量:
2
简单同族被引用专利总数:
38
诉讼案件数:
0
法律状态/事件:
授权 | 权利转移