首页
专利数据库
产业人才
行业动态
产业政策法规
维权援助
个人中心
登录/注册
详情
文本
图像
标题:
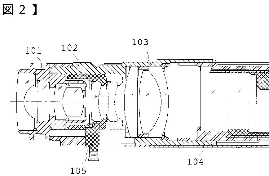
内視鏡用対物光学系
授权日:
2012-12-07
公开(公告)号:
JP5148403B2
申请日:
2008-07-28
公开(公告)日:
2013-02-20
当前申请(专利权)人:
オリンパスメディカルシステムズ株式会社
发明人:
野口 あずさ
简单同族:
EP2149809A1 | EP2149809B1 | JP2010032680A | JP2010032680A5 | JP5148403B2 | US20100020408A1 | US8130454
简单同族成员数量:
7
简单同族被引用专利总数:
75
诉讼案件数:
0
法律状态/事件:
授权 | 权利转移