首页
专利数据库
产业人才
行业动态
产业政策法规
维权援助
个人中心
登录/注册
详情
文本
图像
标题:
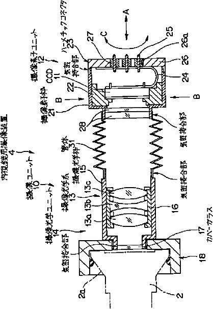
内視鏡用撮像装置
授权日:
1900-01-01
公开(公告)号:
JP2002136477A
申请日:
2000-10-31
公开(公告)日:
2002-05-14
当前申请(专利权)人:
オリンパス株式会社
发明人:
谷沢 信吉 | 棚橋 史典 | 清水 正己 | 山口 貴夫 | 黒田 宏之 | 竹腰 聡
简单同族:
JP2002136477A | JP3659882B2 | US20030169333A1 | US7714885
简单同族成员数量:
4
简单同族被引用专利总数:
32
诉讼案件数:
0
法律状态/事件:
未缴年费