首页
专利数据库
产业人才
行业动态
产业政策法规
维权援助
个人中心
登录/注册
详情
文本
图像
标题:
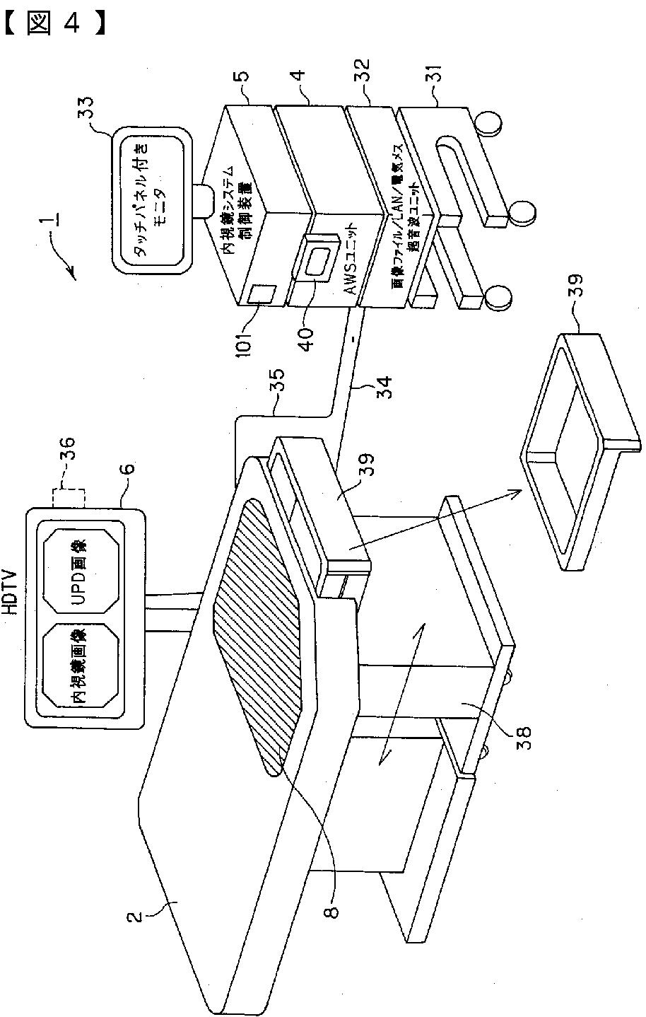
内視鏡
授权日:
2010-03-12
公开(公告)号:
JP4472414B2
申请日:
2004-04-26
公开(公告)日:
2010-06-02
当前申请(专利权)人:
オリンパス株式会社
发明人:
内村 澄洋 | 小野田 文幸 | 谷口 明 | 野口 利昭 | 鈴木 克哉
简单同族:
CN100450422C | CN101438954A | CN101438954B | CN1946333A | JP2005305045A | JP4472414B2 | US20070038023A1 | US7963914 | WO2005102145A1
简单同族成员数量:
9
简单同族被引用专利总数:
35
诉讼案件数:
0
法律状态/事件:
授权 | 权利转移