首页
专利数据库
产业人才
行业动态
产业政策法规
维权援助
个人中心
登录/注册
详情
文本
图像
标题:
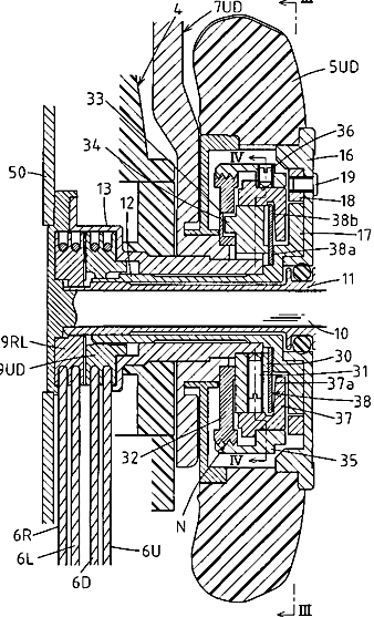
内視鏡の湾曲保持機構
授权日:
1900-01-01
公开(公告)号:
JP2007313292A
申请日:
2007-02-08
公开(公告)日:
2007-12-06
当前申请(专利权)人:
HOYA株式会社
发明人:
丸山 義則
简单同族:
DE102007019781A1 | JP2007313292A | JP2007313292A5 | JP4928969B2 | US20070255104A1 | US7828725
简单同族成员数量:
6
简单同族被引用专利总数:
75
诉讼案件数:
0
法律状态/事件:
授权 | 权利转移