首页
专利数据库
产业人才
行业动态
产业政策法规
维权援助
个人中心
登录/注册
详情
文本
图像
标题:
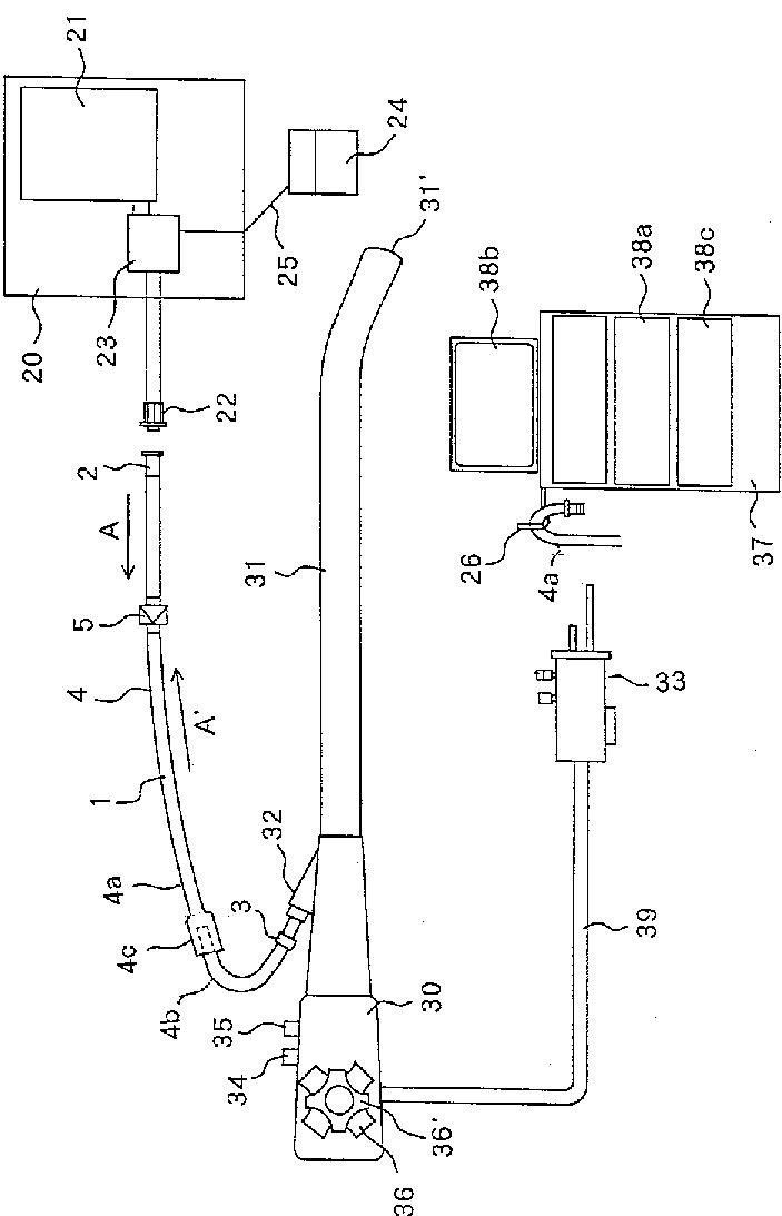
内視鏡用送水チューブ
授权日:
2010-07-09
公开(公告)号:
JP4544924B2
申请日:
2004-07-12
公开(公告)日:
2010-09-15
当前申请(专利权)人:
フォルテ グロウ メディカル株式会社 | 有限会社コスマメディック
发明人:
松川 孝史 | 高橋 寛
简单同族:
JP2006025888A | JP4544924B2
简单同族成员数量:
2
简单同族被引用专利总数:
32
诉讼案件数:
0
法律状态/事件:
授权