首页
专利数据库
产业人才
行业动态
产业政策法规
维权援助
个人中心
登录/注册
详情
文本
图像
标题:
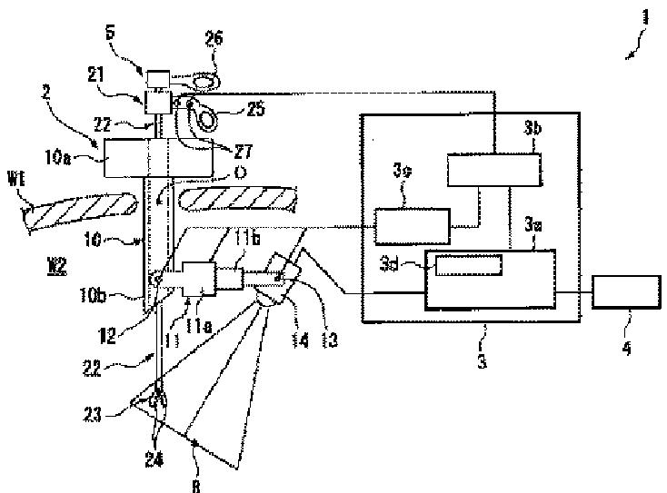
内視鏡外科手術器具
授权日:
1900-01-01
公开(公告)号:
JPWO2007097034A1
申请日:
2006-02-27
公开(公告)日:
2009-07-09
当前申请(专利权)人:
オリンパスメディカルシステムズ株式会社
发明人:
箕澤 領 | 出島 工 | 宮本 学 | 松野 清孝
简单同族:
EP1989990A1 | EP1989990A4 | EP1989990B1 | JP4744595B2 | JPWO2007097034A1 | US20090062604A1 | WO2007097034A1
简单同族成员数量:
7
简单同族被引用专利总数:
48
诉讼案件数:
0
法律状态/事件:
授权 | 权利转移