首页
专利数据库
产业人才
行业动态
产业政策法规
维权援助
个人中心
登录/注册
详情
文本
图像
标题:
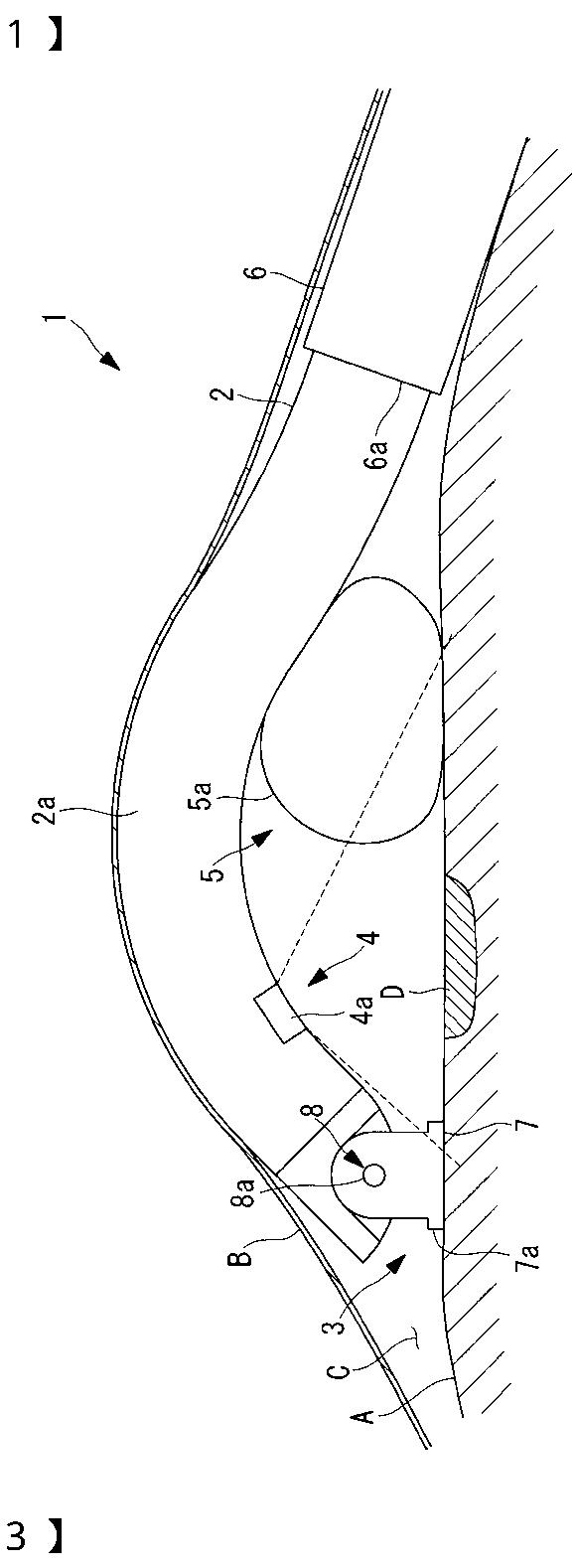
内視鏡
授权日:
2013-11-22
公开(公告)号:
JP5415925B2
申请日:
2009-12-16
公开(公告)日:
2014-02-12
当前申请(专利权)人:
オリンパス株式会社
发明人:
岡崎 善朗 | 菅原 理裕
简单同族:
JP2010284503A | JP2010284503A5 | JP5415925B2 | US20100240952A1 | US8900123 | WO2011036976A1
简单同族成员数量:
6
简单同族被引用专利总数:
45
诉讼案件数:
0
法律状态/事件:
授权 | 权利转移