首页
专利数据库
产业人才
行业动态
产业政策法规
维权援助
个人中心
登录/注册
详情
文本
图像
标题:
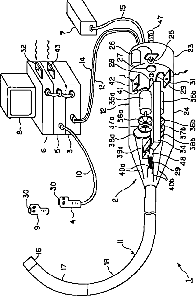
内視鏡
授权日:
1900-01-01
公开(公告)号:
JP2003010099A
申请日:
2001-06-29
公开(公告)日:
2003-01-14
当前申请(专利权)人:
オリンパス光学工業株式会社
发明人:
岡田 裕太
简单同族:
JP2003010099A | JP2003010099A5 | US20030018237A1 | US6802809
简单同族成员数量:
4
简单同族被引用专利总数:
102
诉讼案件数:
0
法律状态/事件:
驳回