首页
专利数据库
产业人才
行业动态
产业政策法规
维权援助
个人中心
登录/注册
详情
文本
图像
标题:
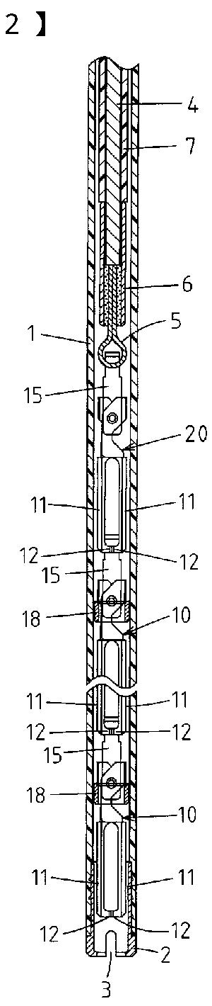
内視鏡用クリップ装置
授权日:
2011-04-08
公开(公告)号:
JP4716513B2
申请日:
2006-11-09
公开(公告)日:
2011-07-06
当前申请(专利权)人:
HOYA株式会社
发明人:
柴田 博朗 | 川野 友裕
简单同族:
DE102007053397A1 | DE102007053397B4 | FR2908286A1 | FR2908286B1 | GB0722013D0 | GB2443736A | GB2443736B | JP2008119068A | JP4716513B2 | US20080114377A1 | US8062310
简单同族成员数量:
11
简单同族被引用专利总数:
106
诉讼案件数:
0
法律状态/事件:
授权 | 权利转移