首页
专利数据库
产业人才
行业动态
产业政策法规
维权援助
个人中心
登录/注册
详情
文本
图像
标题:
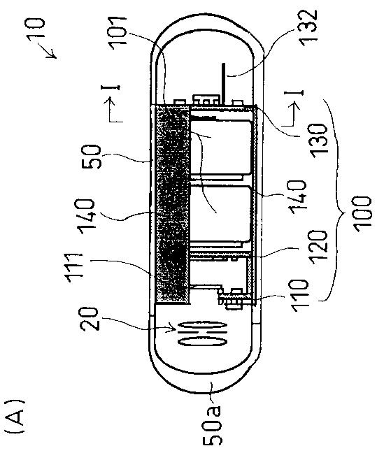
カプセル内視鏡
授权日:
2009-07-10
公开(公告)号:
JP4338280B2
申请日:
2000-02-15
公开(公告)日:
2009-10-07
当前申请(专利权)人:
HOYA株式会社
发明人:
中島 雅章 | 中西 太一 | 二ノ宮 一郎 | 中村 哲也 | 伏見 正寛 | 江口 勝 | 大原 健一
简单同族:
JP2001224551A | JP4338280B2
简单同族成员数量:
2
简单同族被引用专利总数:
97
诉讼案件数:
0
法律状态/事件:
未缴年费 | 权利转移