首页
专利数据库
产业人才
行业动态
产业政策法规
维权援助
个人中心
登录/注册
详情
文本
图像
标题:
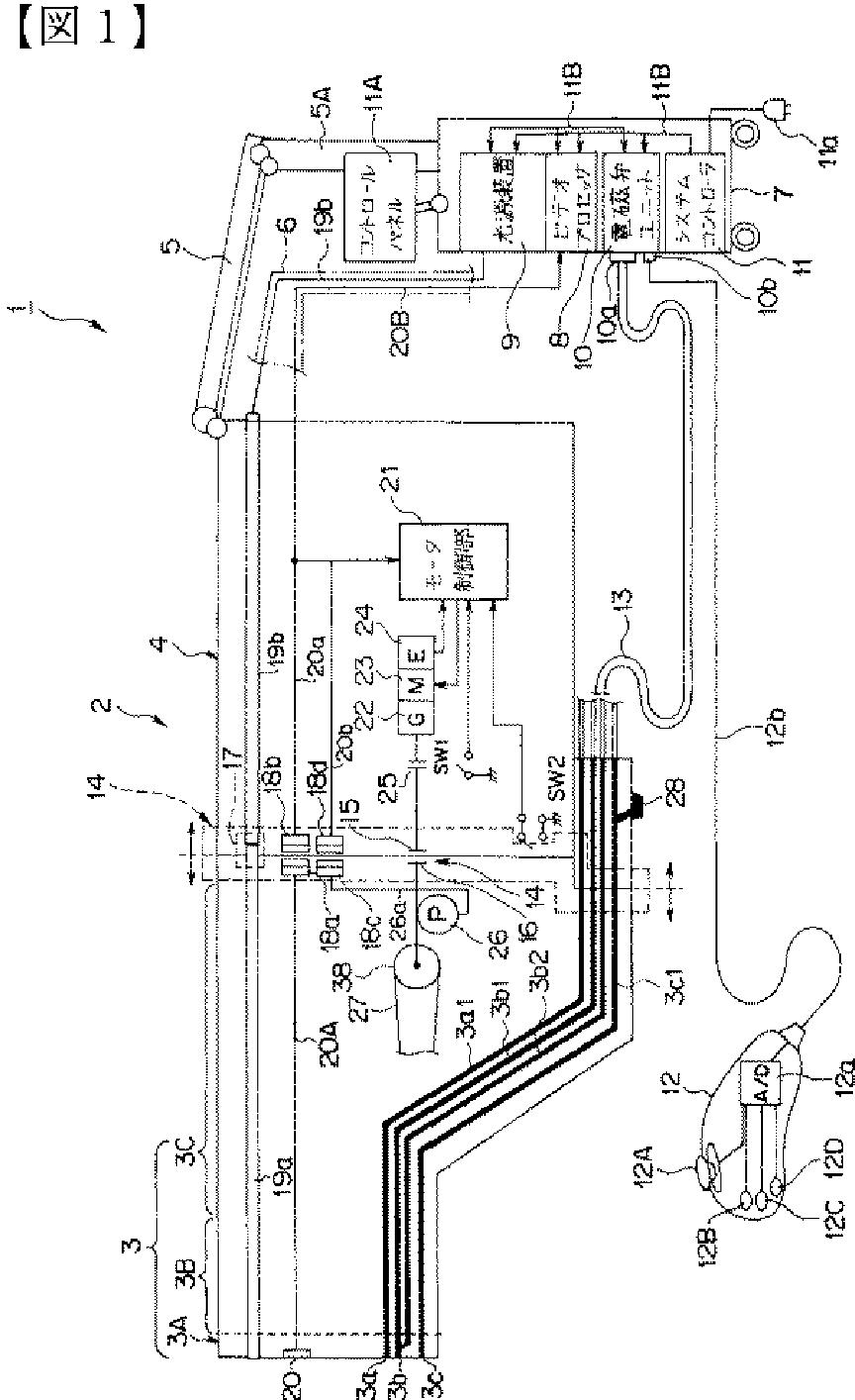
挿入部着脱式湾曲内視鏡、及び挿入部着脱式電動湾曲内視鏡装置
授权日:
1900-01-01
公开(公告)号:
JPWO2006059722A1
申请日:
2005-12-02
公开(公告)日:
2008-06-05
当前申请(专利权)人:
オリンパス株式会社
发明人:
上野 晴彦 | 石塚 達也 | 池田 裕一 | 古川 達也 | 正木 豊 | 小板橋 正信 | 金澤 憲昭
简单同族:
EP1825801A1 | EP1825801A4 | EP1825801B1 | JP4674214B2 | JPWO2006059722A1 | US20070232856A1 | US8303487 | WO2006059722A1
简单同族成员数量:
8
简单同族被引用专利总数:
61
诉讼案件数:
0
法律状态/事件:
授权 | 权利转移