标题:
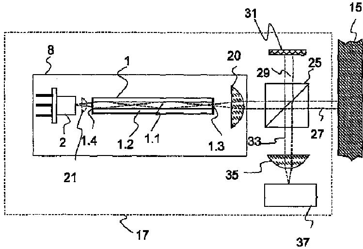
内視鏡用および蛍光顕微鏡用の各検査デバイス、特に光学的生検用の特殊デバイスのための微小構造光ファイバを有する広帯域光源
授权日:
1900-01-01
公开(公告)号:
JP2008501130A
申请日:
2005-06-01
公开(公告)日:
2008-01-17
当前申请(专利权)人:
ショット アクチエンゲゼルシャフト
发明人:
マンシュタット,ヴォルフガング | ドラップ,ベルント | バイアー,ヴォルフラム
简单同族:
DE102004026931B3 | DE112005000888A5 | JP2005345474A | JP2008501130A | US20050265405A1 | US20080304788A1 | US7680379 | WO2005119355A2 | WO2005119355A3
简单同族成员数量:
9
简单同族被引用专利总数:
44
诉讼案件数:
0
法律状态/事件:
撤回