首页
专利数据库
产业人才
行业动态
产业政策法规
维权援助
个人中心
登录/注册
详情
文本
图像
标题:
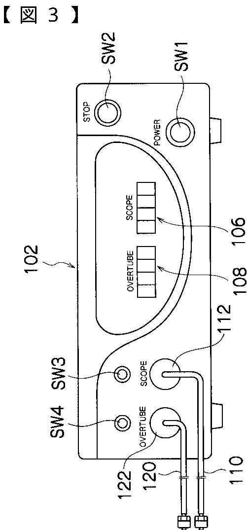
内視鏡装置用のバルーン制御装置
授权日:
2006-09-29
公开(公告)号:
JP3859081B2
申请日:
2004-11-04
公开(公告)日:
2006-12-20
当前申请(专利权)人:
フジノン株式会社
发明人:
関口 正 | 藤倉 哲也
简单同族:
AT365497T | DE602005001491D1 | DE602005001491T2 | EP1654975A1 | EP1654975B1 | JP2006130014A | JP3859081B2 | US20060116549A1 | US7713191
简单同族成员数量:
9
简单同族被引用专利总数:
30
诉讼案件数:
0
法律状态/事件:
授权 | 权利转移