首页
专利数据库
产业人才
行业动态
产业政策法规
维权援助
个人中心
登录/注册
详情
文本
图像
标题:
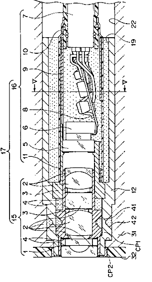
電子内視鏡
授权日:
1900-01-01
公开(公告)号:
JP2007068563A
申请日:
2005-09-02
公开(公告)日:
2007-03-22
当前申请(专利权)人:
オリンパスメディカルシステムズ株式会社
发明人:
秋葉 一芳
简单同族:
CN100457019C | CN1923130A | CN200957078Y | EP1920708A1 | EP1920708A4 | JP2007068563A | JP5042481B2 | US20090253955A1 | US8821381 | WO2007026815A1
简单同族成员数量:
10
简单同族被引用专利总数:
44
诉讼案件数:
0
法律状态/事件:
授权 | 权利转移