首页
专利数据库
产业人才
行业动态
产业政策法规
维权援助
个人中心
登录/注册
详情
文本
图像
标题:
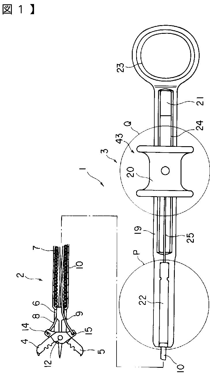
内視鏡用処置具
授权日:
2008-08-08
公开(公告)号:
JP4166414B2
申请日:
2000-05-17
公开(公告)日:
2008-10-15
当前申请(专利权)人:
オリンパス株式会社
发明人:
山本 哲也
简单同族:
DE10123848A1 | DE10123848B4 | JP2001321386A | JP4166414B2 | US20010047124A1 | US6689122
简单同族成员数量:
6
简单同族被引用专利总数:
102
诉讼案件数:
0
法律状态/事件:
未缴年费 | 权利转移