标题:
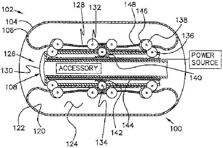
自己推進可能な内視鏡装置及びその利用に関する方法
授权日:
1900-01-01
公开(公告)号:
JP2009513250A
申请日:
2006-10-17
公开(公告)日:
2009-04-02
当前申请(专利权)人:
ソフトスコープ·メディカル·テクノロジーズ·インコーポレイテッド
发明人:
トロイ·ジェイ·ジーグラー | ティモシー·ピー·シェリダン | ウィリアム·ティ·ライダー
简单同族:
BRPI0617790A2 | EP1945091A2 | EP1945091A4 | EP1945091B1 | IL191079A | IL191079D0 | IL215409D0 | JP2009513250A | US20060089533A1 | US20080045790A1 | US20100198011A1 | US7736300 | US8353817 | US9033867 | WO2007050370A2 | WO2007050370A3
简单同族成员数量:
16
简单同族被引用专利总数:
170
诉讼案件数:
0
法律状态/事件:
撤回 | 权利转移