首页
专利数据库
产业人才
行业动态
产业政策法规
维权援助
个人中心
登录/注册
详情
文本
图像
标题:
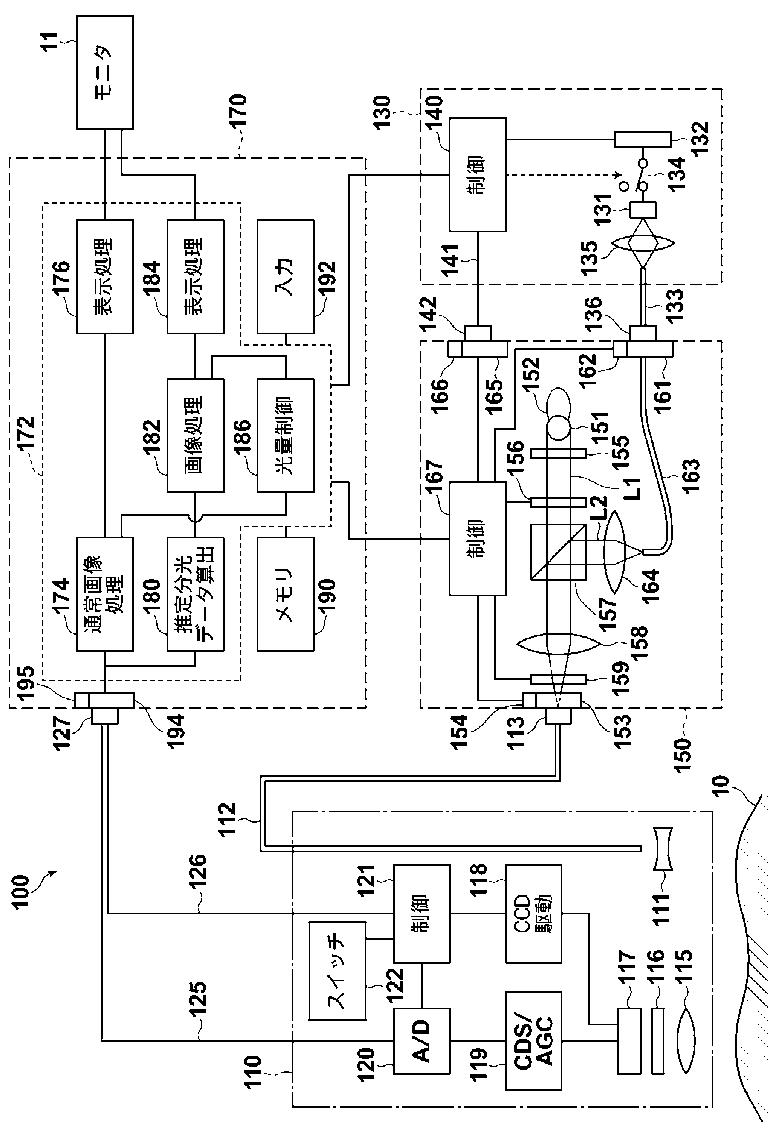
蛍光内視鏡装置および励起光ユニット
授权日:
1900-01-01
公开(公告)号:
JP2009279168A
申请日:
2008-05-22
公开(公告)日:
2009-12-03
当前申请(专利权)人:
富士フイルム株式会社
发明人:
石井 秀一
简单同族:
CN101584572A | CN101584572B | JP2009279168A | JP2009279168A5 | JP5081720B2
简单同族成员数量:
5
简单同族被引用专利总数:
50
诉讼案件数:
0
法律状态/事件:
未缴年费 | 权利转移