首页
专利数据库
产业人才
行业动态
产业政策法规
维权援助
个人中心
登录/注册
详情
文本
图像
标题:
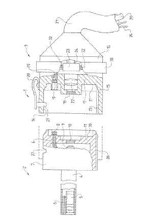
ビデオ内視鏡システム
授权日:
1900-01-01
公开(公告)号:
JP2005237958A
申请日:
2005-02-09
公开(公告)日:
2005-09-08
当前申请(专利权)人:
オリンパス ビンテル ウント イーベーエー ゲーエムベーハー
发明人:
ヨアヒム デーメル | トーマス フェルステル | マチアス クラース | ギルベルト スパーン
简单同族:
DE102004009384A1 | DE102004009384B4 | FR2866798A1 | GB0502159D0 | GB2411488A | JP2005237958A | US20050191046A1 | US7212737
简单同族成员数量:
8
简单同族被引用专利总数:
40
诉讼案件数:
0
法律状态/事件:
驳回