首页
专利数据库
产业人才
行业动态
产业政策法规
维权援助
个人中心
登录/注册
详情
文本
图像
标题:
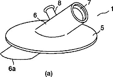
内視鏡下手術用トロッカー
授权日:
1900-01-01
公开(公告)号:
JP2003199755A
申请日:
2001-12-28
公开(公告)日:
2003-07-15
当前申请(专利权)人:
オリンパス光学工業株式会社
发明人:
笠原 秀元 | 小賀坂 高宏
简单同族:
AT423521T | DE60231284D1 | EP1323389A2 | EP1323389A3 | EP1323389B1 | JP2003199755A | US20030125666A1 | US20050137613A1 | US6863674
简单同族成员数量:
9
简单同族被引用专利总数:
206
诉讼案件数:
0
法律状态/事件:
驳回