首页
专利数据库
产业人才
行业动态
产业政策法规
维权援助
个人中心
登录/注册
详情
文本
图像
标题:
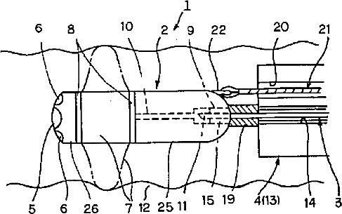
内視鏡装置
授权日:
1900-01-01
公开(公告)号:
JP2003135388A
申请日:
2001-10-30
公开(公告)日:
2003-05-13
当前申请(专利权)人:
オリンパス株式会社
发明人:
秋葉 一芳 | 横井 武司 | 松浦 伸之 | 中沢 雅明
简单同族:
JP2003135388A | JP2003135388A5 | JP4081259B2
简单同族成员数量:
3
简单同族被引用专利总数:
77
诉讼案件数:
0
法律状态/事件:
未缴年费