首页
专利数据库
产业人才
行业动态
产业政策法规
维权援助
个人中心
登录/注册
详情
文本
图像
标题:
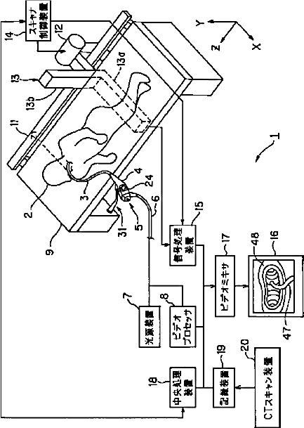
内視鏡装置
授权日:
1900-01-01
公开(公告)号:
JP2002306403A
申请日:
2001-04-18
公开(公告)日:
2002-10-22
当前申请(专利权)人:
オリンパス光学工業株式会社
发明人:
中満 竹千代 | 森實 祐一 | 梶 国英 | 加川 裕昭 | 萩原 雅博 | 菊地 康彦 | 木村 修一 | 高橋 裕史 | 斉藤 明人 | 中村 剛明
简单同族:
JP2002306403A
简单同族成员数量:
1
简单同族被引用专利总数:
40
诉讼案件数:
0
法律状态/事件:
撤回