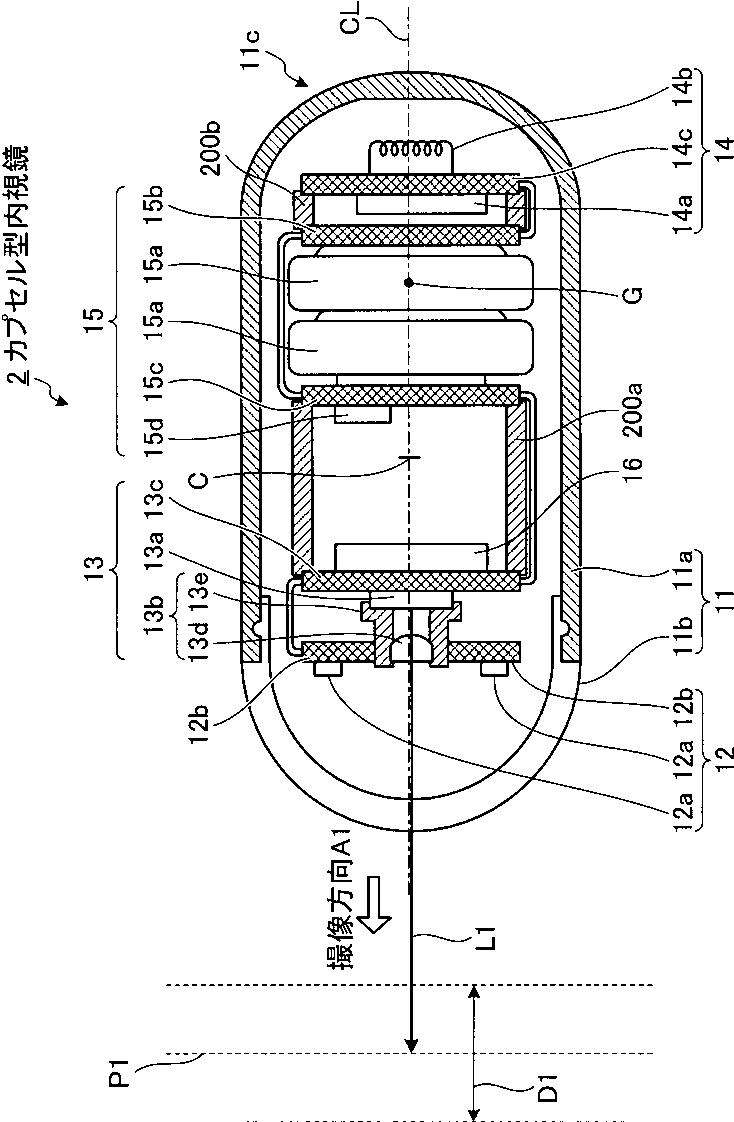
标题:
カプセル型内視鏡
授权日:
2013-02-22
公开(公告)号:
JP5203962B2
申请日:
2007-08-29
公开(公告)日:
2013-06-05
当前申请(专利权)人:
オリンパスメディカルシステムズ株式会社
发明人:
重盛 敏明 | 折原 達也 | 瀬川 英建 | 河野 宏尚 | 永瀬 綾子
简单同族:
AU2007322906A1 | AU2007322906B2 | CN101541225A | CN101541225B | EP2085015A1 | EP2085015A4 | JP5203962B2 | JPWO2008062594A1 | KR101089395B1 | KR1020090074085A | US20090299144A1 | US8439822 | WO2008062594A1
简单同族成员数量:
13
简单同族被引用专利总数:
95
诉讼案件数:
0
法律状态/事件:
未缴年费 | 权利转移