首页
专利数据库
产业人才
行业动态
产业政策法规
维权援助
个人中心
登录/注册
详情
文本
图像
标题:
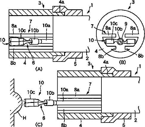
内視鏡用フード
授权日:
1900-01-01
公开(公告)号:
JP2002112946A
申请日:
2000-10-11
公开(公告)日:
2002-04-16
当前申请(专利权)人:
オリンパス光学工業株式会社
发明人:
小林 司
简单同族:
DE10215132A1 | DE10215132B4 | JP2002112946A | US20030191365A1 | US6699180
简单同族成员数量:
5
简单同族被引用专利总数:
223
诉讼案件数:
0
法律状态/事件:
驳回