首页
专利数据库
产业人才
行业动态
产业政策法规
维权援助
个人中心
登录/注册
详情
文本
图像
标题:
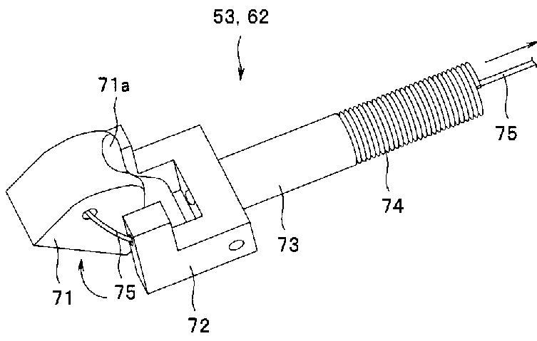
内視鏡装置
授权日:
1900-01-01
公开(公告)号:
JP2010004945A
申请日:
2008-06-24
公开(公告)日:
2010-01-14
当前申请(专利权)人:
オリンパスメディカルシステムズ株式会社
发明人:
青木 秀道 | 佐藤 直
简单同族:
CN101612050A | CN101612050B | EP2138092A1 | EP2138092B1 | JP2010004945A | JP5153476B2 | US20090318831A1 | US8827922
简单同族成员数量:
8
简单同族被引用专利总数:
39
诉讼案件数:
0
法律状态/事件:
授权 | 权利转移