首页
专利数据库
产业人才
行业动态
产业政策法规
维权援助
个人中心
登录/注册
详情
文本
图像
标题:
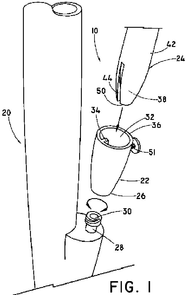
細長い医療装置を内視鏡と関連して方向付けるためのアダプタ
授权日:
1900-01-01
公开(公告)号:
JP2011510794A
申请日:
2009-02-04
公开(公告)日:
2011-04-07
当前申请(专利权)人:
クック メディカル テクノロジーズ エルエルシー
发明人:
マクグラス, ダラク
简单同族:
AU2009212438A1 | CA2713691A1 | CN101938934A | CN101938934B | EP2244625A1 | EP2244625B1 | JP2011510794A | JP5618835B2 | US20090221873A1 | WO2009100106A1
简单同族成员数量:
10
简单同族被引用专利总数:
90
诉讼案件数:
0
法律状态/事件:
授权 | 权利转移