首页
专利数据库
产业人才
行业动态
产业政策法规
维权援助
个人中心
登录/注册
详情
文本
图像
标题:
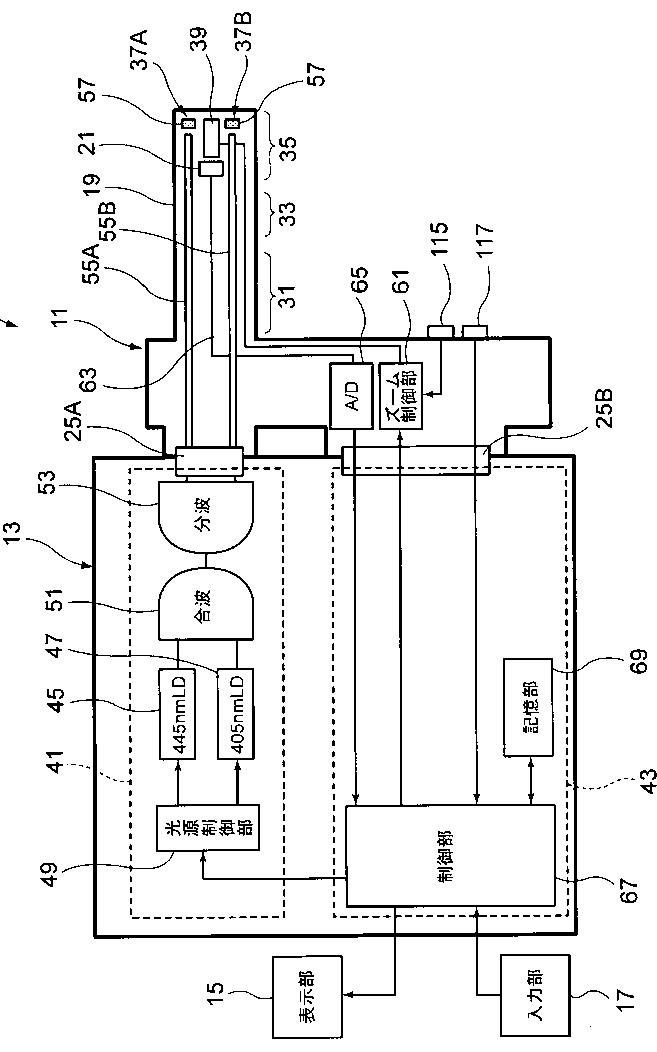
内視鏡装置
授权日:
1900-01-01
公开(公告)号:
JP2011036361A
申请日:
2009-08-10
公开(公告)日:
2011-02-24
当前申请(专利权)人:
富士フイルム株式会社
发明人:
遠藤 安土 | 水由 明 | 小澤 聡 | 江利川 昭彦
简单同族:
EP2283769A1 | EP2283769B1 | EP3222201A1 | JP2011036361A | JP5401205B2 | US20110034770A1
简单同族成员数量:
6
简单同族被引用专利总数:
157
诉讼案件数:
0
法律状态/事件:
授权