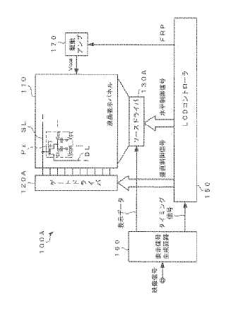
标题:
表示駆動装置及びその駆動制御方法並びに該表示駆動装置を備えた表示装置
发明人:
平山 隆一 | 樫山 俊二 | 稲垣 直樹
简单同族:
CN100452132C | CN101359461A | CN1641728A | HK1079889A | HK1079889A1 | JP2005195703A | JP4168339B2 | KR100685227B1 | KR1020050067040A | TW200537417A | TWI263970B | US20050156862A1 | US20090146939A1 | US7511691 | US8294655