首页
专利数据库
产业人才
行业动态
产业政策法规
维权援助
个人中心
登录/注册
详情
文本
图像
标题:
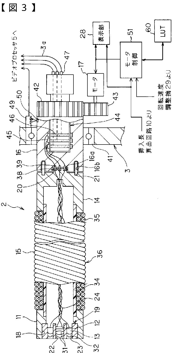
内視鏡装置
授权日:
2011-01-21
公开(公告)号:
JP4668643B2
申请日:
2005-02-23
公开(公告)日:
2011-04-13
当前申请(专利权)人:
オリンパスメディカルシステムズ株式会社
发明人:
倉 康人
简单同族:
EP1852052A1 | EP1852052A4 | EP1852052B1 | JP2006230620A | JP4668643B2 | US20080009675A1 | US20110071355A1 | US8753261 | WO2006090599A1
简单同族成员数量:
9
简单同族被引用专利总数:
59
诉讼案件数:
0
法律状态/事件:
授权 | 权利转移