首页
专利数据库
产业人才
行业动态
产业政策法规
维权援助
个人中心
登录/注册
详情
文本
图像
标题:
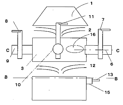
内視鏡先端洗浄機能付きトロッカー
授权日:
2008-02-27
公开(公告)号:
JP3140234U
申请日:
2007-06-30
公开(公告)日:
2008-03-21
当前申请(专利权)人:
菅 滋正
发明人:
菅 滋正 | 菅 正樹 | 菅 泰彦 | 菅 弘之
简单同族:
JP3140234U
简单同族成员数量:
1
简单同族被引用专利总数:
0
诉讼案件数:
0
法律状态/事件:
未缴年费