首页
专利数据库
产业人才
行业动态
产业政策法规
维权援助
个人中心
登录/注册
详情
文本
图像
标题:
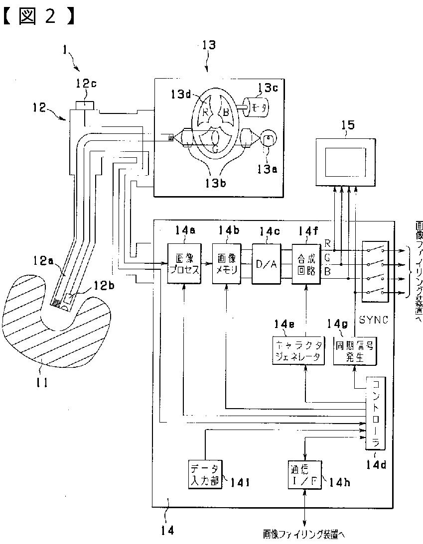
内視鏡画像ファイリングシステム
授权日:
2011-03-25
公开(公告)号:
JP4709443B2
申请日:
2001-08-29
公开(公告)日:
2011-06-22
当前申请(专利权)人:
オリンパス株式会社
发明人:
柴田 裕之 | 渡井 信
简单同族:
EP1288839A2 | EP1288839A3 | JP2003061907A | JP4709443B2 | US20030060678A1
简单同族成员数量:
5
简单同族被引用专利总数:
45
诉讼案件数:
0
法律状态/事件:
未缴年费 | 权利转移