首页
专利数据库
产业人才
行业动态
产业政策法规
维权援助
个人中心
登录/注册
详情
文本
图像
标题:
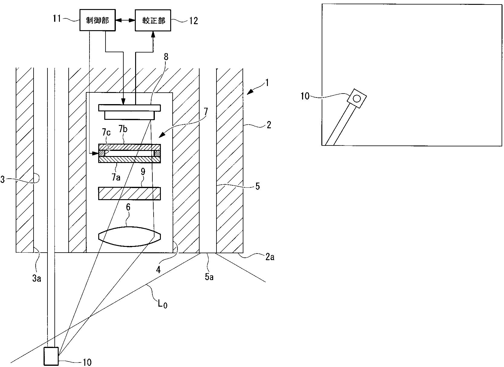
分光内視鏡および分光内視鏡の作動方法
授权日:
2012-09-28
公开(公告)号:
JP5094730B2
申请日:
2007-10-22
公开(公告)日:
2012-12-12
当前申请(专利权)人:
オリンパス株式会社
发明人:
高岡 秀行 | 松本 伸也
简单同族:
JP2012250050A | JP5094730B2 | JP5437453B2 | JPWO2008050712A1 | US20100317919A1 | WO2008050712A1
简单同族成员数量:
6
简单同族被引用专利总数:
56
诉讼案件数:
0
法律状态/事件:
未缴年费 | 权利转移