首页
专利数据库
产业人才
行业动态
产业政策法规
维权援助
个人中心
登录/注册
详情
文本
图像
标题:
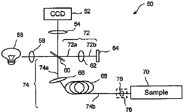
1つ又は複数の内視鏡顕微鏡検査法を使用してデータを生成するシステム及び方法
授权日:
1900-01-01
公开(公告)号:
JP2009523574A
申请日:
2007-01-12
公开(公告)日:
2009-06-25
当前申请(专利权)人:
ザ ジェネラル ホスピタル コーポレイション
发明人:
ティアニー,ギラーモ ジェイ. | イフティミア,ニクサー | ボウマ,ブレット イー. | オウ,ワン-ユル
简单同族:
JP2009022729A | JP2009131666A | JP2009523574A | JP2013006071A | US20070238955A1 | WO2007084849A1
简单同族成员数量:
6
简单同族被引用专利总数:
110
诉讼案件数:
0
法律状态/事件:
撤回