首页
专利数据库
产业人才
行业动态
产业政策法规
维权援助
个人中心
登录/注册
详情
文本
图像
标题:
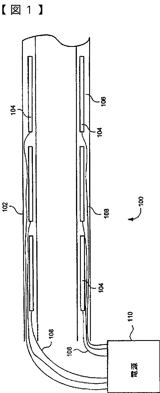
内視鏡の可変可撓性シャフト
授权日:
2011-12-22
公开(公告)号:
JP4891174B2
申请日:
2007-07-30
公开(公告)日:
2012-03-07
当前申请(专利权)人:
カール·ストーツ·エンドヴィジョン·インコーポレーテッド
发明人:
ダナ·ジェイ·ランドリー
简单同族:
CA2593957A1 | CA2593957C | EP1891881A1 | EP1891881B1 | JP2008049151A | JP4891174B2 | US20080045795A1 | US7789827
简单同族成员数量:
8
简单同族被引用专利总数:
72
诉讼案件数:
0
法律状态/事件:
授权