首页
专利数据库
产业人才
行业动态
产业政策法规
维权援助
个人中心
登录/注册
详情
文本
图像
标题:
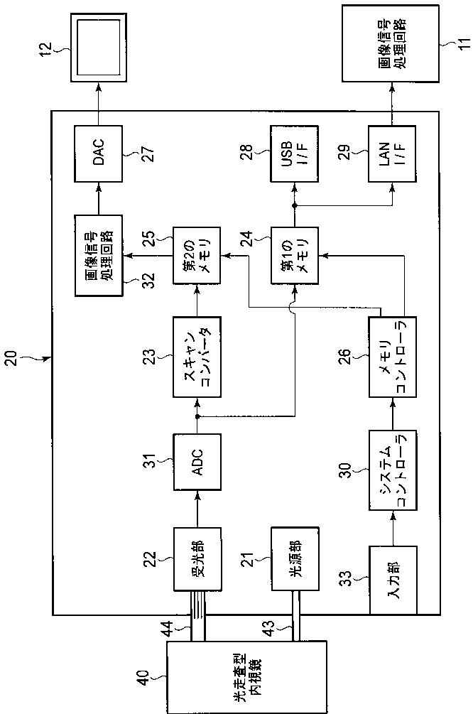
光走査型内視鏡プロセッサ、画像処理装置、および光走査型内視鏡システム
授权日:
1900-01-01
公开(公告)号:
JP2010131161A
申请日:
2008-12-04
公开(公告)日:
2010-06-17
当前申请(专利权)人:
HOYA株式会社
发明人:
池田 友輝
简单同族:
DE102009057069A1 | JP2010131161A | US20100141746A1
简单同族成员数量:
3
简单同族被引用专利总数:
34
诉讼案件数:
0
法律状态/事件:
撤回